欢迎访问仁港永胜(深圳)法律服务有限公司
全国服务热线:
0755-83017248
官方微信
扫码咨询
网站首页
企业服务中心
注册公司
深圳公司注册
前海公司注册
香港公司注册
海南公司注册
外资公司注册
公司变更
公司名称变更
公司地址变更
公司法人变更
公司股东变更
经营范围变更
注册资本变更
财税服务
代理记账
税收筹划
特色服务
前海地址挂靠
仁港永胜商秘地址
医生集团设立
旅行社设立
公司注销
深圳公司注销
深圳个体户注销
知识产权
商标注册
版权申请
申请一般纳税人
一般纳税人
小规模纳税人
公司异常
公司异常解除
公司异常解锁
深圳公司注册
前海公司注册
公司变更
公司注销
知识库
关于我们
公司简介
联系我们
您的当前位置:
网站首页
>
知识库
>
商标注册
>
蒙牛关联公司申请“美有啤气”“豆牛士”商标
新闻来源:未知
更新时间:
2020-12-09
点击:
0
次
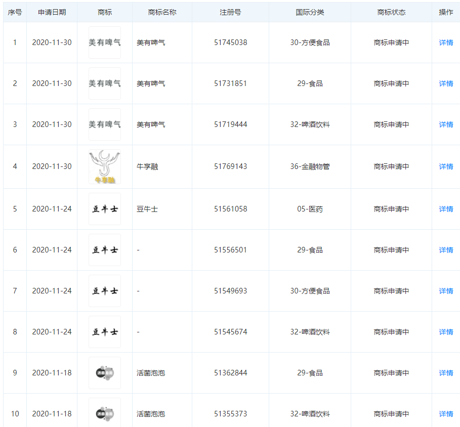
近日,内蒙古蒙牛乳业(集团)股份有限公司新增多条商标申请信息,新申请商标包括
“美有啤气”“豆牛士”等,商标国际分类涉及方便食品、啤酒饮料、医药等。商标状态均显示为“商标申请中”。
上一篇:
滴滴关联公司申请“滴滴定制车”商标
下一篇:
美团关联公司申请“美团智慧厨房”“美团优选 便宜有好货”等商标
热门文章
一人公司如何承担责任?
你的公司被列入经营异常,怎么办?
已经办理了“三证合一”,如何办理“五证合一”?
深圳分公司如何注册(用自己的房子注册公司)
[深圳公司转让]公司转让需要注意的风险?
疫情期间如何办理进出口经营权
[公司经营范围变更]深圳公司经营范围变更及必备的资料
中介公司税务筹划(中介公司怎么做筹划)
公司移出经营异常名录的操作方法
深圳公司注销排队(公司注销真的很难吗)
深圳公司变更|深圳公司可以更改名字吗?
一个法人可以注册几家公司呢?
[解除公司经营异]深圳解除公司经营异常费用多少?
新公司成立多久可以申请一般纳税人
代理注销深圳公司(公司公积金账户注销)
小规模公司税务筹划(小规模公司怎么做筹划)
如何办理仁港永胜公司地址挂靠?需要什么材料?
[公司经营异常]公司异常能否办理注销手续?
2022年在深圳公司注册,请收下这份指南!
公司法人变更:资料的详细说明有这些重要的东西